Qingdao Ruichen Sealing Technology Co., Ltd.
Qingdao Ruichen Sealing Technology Co., Ltd.
Новини

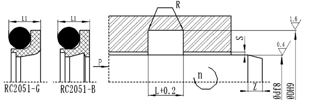
RC2051-B/G Комбинирана уплътнение на предавките за въртящ се вал

Това уплътнение е съставено от зъбен уплътнителен пръстен, пълен сPTFE материалиГумен пръстен на О-пръстен, подходящ за еднопосочно уплътняване на хидравлични и пневматични реципрочни и въртящи се движение. Той има характеристиките на високия живот, ниското триене, доброто уплътняване, малкото структурно пространство и може да се използва за запечатване на водно налягане. Той е разделен на RC2051-B (стандартен тип) и RC2051-G (високоскоростен тип). Специалният дизайн на устните на RC2051 има добър уплътнителен ефект и изключително ниско съпротивление на триене дори за пневматично реципрочно иливъртящи се уплътнения.

Избор на материали

1. Съответстващият материал на О-пръстена може да бъде избран: R01 нитрилен каучук (NBR), R02 Fluororubber (FKM) и др.

2. Уплътнителния пръстен Материал: Стандартен материал PTFE4, други незадължителни материали PTFE1, PTFE2, PTFE3, PTFE5.


Структурна диаграма



Свързани новини
Оставете ми съобщение
X
Ние използваме бисквитки, за да ви предложим по-добро сърфиране, да анализираме трафика на сайта и да персонализираме съдържанието. Използвайки този сайт, вие се съгласявате с използването на бисквитки от наша страна. Политика за поверителност
Отхвърляне Приеми