Qingdao Ruichen Sealing Technology Co., Ltd.
Qingdao Ruichen Sealing Technology Co., Ltd.
Продукти
X

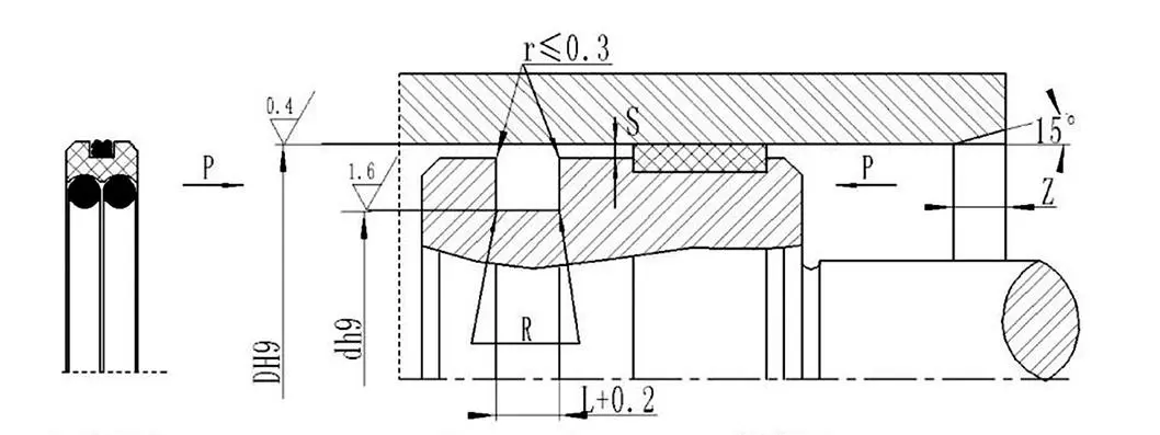
AQF тип PTFE уплътнение

Като производител от Китай, Ruichen Seals има способността да се развива и иновира. PTFE Compound Seal тип AQF, лансиран от Ruichen Seals, използва комбинация от PTFE уплътнителни пръстени с ниско триене и маслоустойчиви еластомери. Има компактен външен вид и силна адаптивност и е специално подходящ за хидравлични системи в хранителни машини, медицинско оборудване и чисти среди.

AQF тип PTFE Compound Seal предлага разнообразие от NBR/FKM еластомери и опции за уплътнителен пръстен PTFE1-PTFE4. Той е против замърсяване и устойчив на корозия и поддържа персонализиране и продажба на едро на едро.


Приложими условия на работа

Налягане Mpa

Температура ℃

Скорост m/s

Среден

≤60

-35~+100 (NBR)

≤3

Хидравлично масло, емулсия, вода, газ и др.

-20~+200 (FKM)


Избор на материал

1. Налични еластомерни материали: R01 нитрилен каучук (NBR), RO2 флуорокаучук (FKM) и др.

2. Материал на уплътнителния пръстен: Стандартен материал: PTFE3; други налични материали: PTFE1, PTFE2 и PTFE4.



Горещи маркери: AQF тип PTFE уплътнение
Изпратете запитване
Информация за контакт
Вземете конкурентни цени, техническа поддръжка и бързи отговори. Изпратете вашите спецификации на Ruichen за персонализирани решения за уплътняване. Налични безплатни проби.
X
We use cookies to offer you a better browsing experience, analyze site traffic and personalize content. By using this site, you agree to our use of cookies. Privacy Policy
Reject Accept