Qingdao Ruichen Sealing Technology Co., Ltd.
Qingdao Ruichen Sealing Technology Co., Ltd.
Продукти
X

TC маслени уплътнения

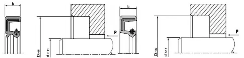
Манжетните уплътнения на въртящия се вал, известни като маслени уплътнения, са монтирани в корпуса на лагера и се движат спрямо въртящия се вал. Метален скелет осигурява опора, а пружина прилага радиално предварително натоварване към уплътнителния ръб, за да предотврати изтичане на смазка и навлизане на външни замърсители.

Структура на инсталацията и изисквания

1. Материал на вала: Обикновено се използват въглеродна стомана и неръждаема стомана. За високи скорости върху повърхността се нанася хромирано покритие HRC40-45.

2. Дизайн на въртящия се вал и жлебовете: Повърхността на вала трябва да е гладка и без грапавини. Следите от спираловидна обработка могат да създадат ефект на изпомпване, водещ до изтичане. Препоръчва се зоната за монтиране на масленото уплътнение да бъде шлайфана до грапавост на повърхността от Ra0,1-0,5µm, като става по-гладка с увеличаване на скоростта. За по-лесен монтаж и демонтаж валът и жлебовете трябва да бъдат проектирани със скосени или заоблени ръбове. Вижте Фигури 1 и 2.

Височина на запечатване

b

b1(0,85xb)

мм

b2(b+0,3)

мм

r

макс.

7

5.95

7.3

0.5

8

6.80

8.3

0.5

10

8.50

10.3

0.5

12

10.30

12.3

0.7

15

12.75

15.3

0.7

20

17.00

20.3

0.7

Фигура 1. Дизайн на фаската на жлеба


d

d3

R

<10

d-1,5

2

10~20

d-2,0

2

20~30

d-2,5

3

30~40

d-3.0

3

40~50

d-3.5

4

50~70

d-4,0

4

70~95

d-4.5

5

95~130

d-5,5

6

130~240

d-7,0

8

240~500

d-11.0

12

500~800

d-14.0

14

800~1250

d-18,0

16

Фигура 2 Дизайн на фаската на въртящия се вал


Фактори, влияещи върху работата на маншетните уплътнения на въртящия се вал 

Има десетки фактори, които влияят върху ефекта на запечатване. Освен самото маслено уплътнение, като неговия материал и структура, други фактори като среда, температура, налягане, смазване, скорост и грапавост на повърхността също пряко влияят на уплътнителния ефект и тези фактори често взаимодействат помежду си. Следните диаграми са само за потребителска справка.

Фигура 3. Влияние на температурата върху масленото уплътнение


Монтаж: Внимателният монтаж е предпоставка за правилното функциониране на семерингите.

Монтажна схема (монтаж в кухина)

Правилен метод на инсталиране

Приложими условия на работа

Неправилен метод на инсталиране

Този метод е приложим само когато края на масленото уплътнение и края на кухината са изравнени. Когато пресовото оборудване работи бързо, масленото уплътнение трябва да бъде позиционирано правилно; в противен случай може да възникне разминаване.

 

Този дизайн е подходящ за ситуации, при които крайната повърхност на масленото уплътнение е по-ниска от крайната повърхност на кухината. Дори при бързо натискане, масленото уплътнение все още може да бъде добре позиционирано. Този тип приспособление обаче няма радиално позициониране, следователно аксиалната перпендикулярност на плоската плоча на притискащото устройство и притискащия вал трябва да постигне определена точност.

Този метод е подходящ за ситуации, при които крайната повърхност на масленото уплътнение е по-ниска от крайната повърхност на кухината. При бързо натискане на оборудването е от решаващо значение да се гарантира, че масленото уплътнение е позиционирано правилно; в противен случай може да възникне разминаване.


 

 


Този метод е подходящ само за условия на поддръжка или прости инсталации, при които не е налично оборудване под налягане. Тъй като по време на монтажа не може да се постигне абсолютно равномерно пресоване, различни проблеми при монтажа са неизбежни. Предназначено е основно за предотвратяване на радиално разместване по време на монтаж, което може да деформира масленото уплътнение, или за предотвратяване на повреда на гумата на свързващата част на масленото уплътнение (външен кръг) поради паузи по време на монтажа. Следователно този метод на инсталиране обикновено не се препоръчва.

 

TC/SC/TB/SB семеринги

И двете се състоят от метална рамка, пружина и гумено тяло. Металната рамка осигурява опора, а пружината прилага радиална сила към уплътнителния ръб. И двата модела TC и TB имат прахоустойчив допълнителен ръб, подходящ за приложения, при които едната страна съдържа уплътняващата среда, а другата страна съдържа прах. Моделите TB/SB имат метален външен кръг, което прави масленото уплътнение по-сигурно и прецизно в кухината. Въпреки това способността за уплътняване на външния кръг е ограничена за нисковискозни и газообразни среди; затова се препоръчва нанасянето на уплътнител върху външния кръг по време на монтажа и употребата.

Форма на напречното сечение

Модел

Приложение

налягане

температура

Скорост

Среден

Материал

TC

Уплътнение, прахоустойчиво

0,03MPa

-30~+160

20m/s

Смазочни масла и греси

NBR/FKM + въглеродна стомана

SC

Запечатване

туберкулоза

Уплътнение, прахоустойчиво

-30~+100

25m/s

Вода, смазочно масло, грес

NBR + въглеродна стомана

SB

Запечатване

Поръчайте модел TC-d*D*b

Спецификация

Спецификация

Спецификация

Спецификация

Спецификация

Спецификация

Спецификация

TC-6*17*3.5

TC-9*25*7

TC-10*30*7

TC-12*25*10

TC-13*25*7

TC-14*32*8

TC-15*30*7

TC-7*18*7

TC-10*18*7

TC-11*22*7

TC-12*26*7

TC-13*26*7

TC-14*32*10

TC-15*30*8

TC-8*18*7

TC-10*19*7

TC-I1*25*7

TC-12*28*7

TC-13*28*7

TC-14*35*7

TC-15*30*10

TC-8*20*7

TC-10*20*5

TC-11*30*10

TC-12*28*8

TC-13*30*8

TC-14*35*8

TC-15*32*7

TC-8*22*7

TC-10*20*7

TC-12*19*3

TC-12*30*7

TC-14*24*7

TC-14*40*7

TC-15*32*10

TC-8*22*8

TC-10*22*5

TC-12*20*7

TC-12*30*10

TC-14*25*7

TC-15*22*8

TC-15*35*7

TC-8*25*7

TC-10*22*7

TC-12*21*7

TC-12*32*7

TC-14*26*7

TC-15*24*7

TC-15*35*8

TC-8*25*8

TC-10*22*8

TC-12*22*5

TC-12*32*10

TC-14*27*7

TC-15*25*5

TC-15*35*10

TC-8*30*7

TC-10*22*10

TC-12*22.5*5.5

TC-12*35*7

TC-14*28*7

TC-15*25*7

TC-15*38*7

TC-9*16*5

TC-10*24*7

TC-12*22*7

TC-12*35*10

TC-14*28*8

TC-15*25*8

TC-15*38*8

TC-9*18*7

TC-10*25*5

TC-12*22*8

TC-12.7*22.22*5

TC-14*28*10

TC-15*26*7

TC-15*38*10

TC-9*19*7

TC-10*25*7

TC-12*24*6

TC-12.7*25.4*7

TC-14*29*7

TC-15*27*7

TC-15*40*8

TC-9*20*7

TC-10*25*10

TC-12*24*7

TC-12.7*26*8

TC-14*30*7

TC-15*27*8

TC-15*40*10

TC-9*22*7

TC-10*26*7

TC-12*25*7

TC-12.7*30*8

TC-14*30*10

TC-15*28*7

TC-15*42*7

TC-9*24*7

TC-10*28*7

TC-12*25*8

TC-13*23*7

TC-14*32*7

TC-15*28*10

TC-15*42*8

 




Горещи маркери: TC маслени уплътнения
Изпратете запитване
Информация за контакт
Вземете конкурентни цени, техническа поддръжка и бързи отговори. Изпратете вашите спецификации на Ruichen за персонализирани решения за уплътняване. Налични безплатни проби.
X
Ние използваме бисквитки, за да ви предложим по-добро сърфиране, да анализираме трафика на сайта и да персонализираме съдържанието. Използвайки този сайт, вие се съгласявате с използването на бисквитки от наша страна. Политика за поверителност
Отхвърляне Приеми