Qingdao Ruichen Sealing Technology Co., Ltd.
Qingdao Ruichen Sealing Technology Co., Ltd.
Продукти
X

Пръстен за чистачки

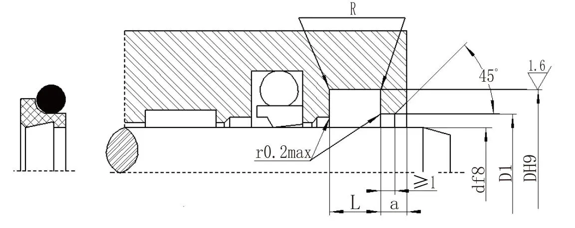
Комбинираното противопрахово уплътнение с двойна устна, лансирано от Ruichen Seal (добре познат производител и доставчик на уплътнения за бутални пръти в Китай) се състои от запълнен PTFE уплътнителен пръстен и О-пръстен. Има двупосочна защита от прах и функции за автоматично компенсиране на износването, ниско триене, дълъг живот и силна адаптивност и се използва широко в различни сценарии на индустриално движение като възвратно-постъпателно, люлеещо се и спирално.

Производителност и приложения

Комбинираното уплътнение на чистачката с двойна устна е двупосочно уплътнение на чистачката, състоящо се от напълнен с PTFE пръстен на чистачката с двойна устна и О-пръстен. О-пръстенът осигурява предварително натоварване, компенсирайки износването на PTFE пръстена. Подходящ е за възвратно-постъпателни, осцилиращи или спираловидни движения.


Условия на работа

Налягане Mpa

Температура °C

Скорост m/s

Среден

-

-35~+100 (съответстващ О-пръстен NBR)

6

Хидравлично масло, емулсия, вода и др.

-20~+200 (съответстващ О-пръстен FKM)


Пример за поръчка

Поръчайте модел RCF02-80-PTFE3-R01

RCF02 - Модел 80 - Диаметър на вала PTFE3 - Модифициран PTFE с общо предназначение RO1 - Подходящ код за каучуков материал

Нитрил (NBR) - R01, флуоровъглерод (FKM) - RO2

Таблица със спецификационни параметри (могат да бъдат предоставени продукти от всякакъв размер в рамките на диапазона на параметрите)

Диапазон на диаметъра на вала d f8

Диаметър на канала D H9

Ширина на канала Л+0.2

Диаметър на отворен отвор

D1H11

Ширина на отворен отвор a≥

Заоблени ъгли R≤

Диаметър на проводника на О-пръстена

d0

4~11

d+4,8

3.7

d+1,5

2

0.4

1.80

12~64

d+6,8

5.0

d+1,5

2

0.7

2.65

65~250

d+8,8

6.0

d+1,5

3

1.0

3.55

251~420

d+12,2

8.4

d+2,0

4

1.5

5.30

421~650

d+16,0

11.0

d+2,0

4

1.5

7.00

651~1500

d+20,0

14.0

d+2,5

5

2.0

8.60


Горещи маркери: Пръстен за чистачки
Изпратете запитване
Информация за контакт
Вземете конкурентни цени, техническа поддръжка и бързи отговори. Изпратете вашите спецификации на Ruichen за персонализирани решения за уплътняване. Налични безплатни проби.
X
Ние използваме бисквитки, за да ви предложим по-добро сърфиране, да анализираме трафика на сайта и да персонализираме съдържанието. Използвайки този сайт, вие се съгласявате с използването на бисквитки от наша страна. Политика за поверителност
Отхвърляне Приеми