|
Налягане/MPa |
Температура / °C |
Скорост /m/s |
Среден |
|
≤40 |
-35~+100 (с NBR О-пръстен) |
≤2 |
Хидравлично масло, емулсия, вода, газ и др. |
|
-20~+200 (с FKM О-пръстен) |
1. Налични материали за О-пръстен: R01 нитрил-бутадиен каучук (NBR), R02 флуорокаучук (FKM) и др.
2. Материали за уплътнителен пръстен: Стандартни материали PTFE3 и PTFE4; други незадължителни материали включват PTFE1, PTFE2 и PTFE5.
Пример за поръчка
Модел за поръчка RC2052—80x91×4.2—PTFE3—R01 Модел-dxDxL- Код на материала
Модел за поръчка RCX17—80x91×4.2—HPU Модел-dxDxL- Код на материала
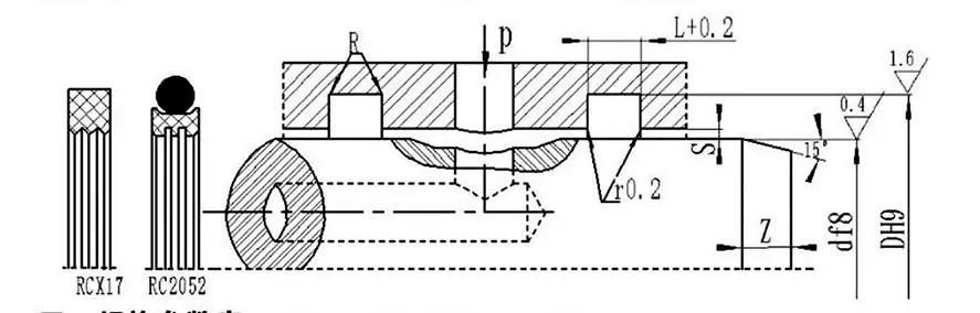
Таблица със спецификации и параметри (достъпна е всяка спецификация в диапазона на параметрите)
|
Диапазон на диаметъра на вала d f8 |
Диаметър на изкопа DH9 |
Ширина на изкопа L+⁰.2 |
Радиален просвет Smax |
Заоблени ъгли Rmax |
фаска Zmin |
|
|
0~10Mpa |
10~20Mpa |
|||||
|
6~18 |
d+49 |
2.2 |
0.15 |
0.1 |
0.4 |
2 |
|
19~37 |
d+7,5 |
3.2 |
0.2 |
0.15 |
0.6 |
3 |
|
38~199 |
d+11,0 |
4.2 |
0.25 |
0.2 |
1.0 |
4 |
|
200~255 |
d+15,5 |
6.3 |
0.3 |
0.25 |
1.3 |
5 |
|
256~649 |
d+21,0 |
8.1 |
0.3 |
0.25 |
1.8 |
7 |
|
650~1500 |
d+28,0 |
9.5 |
0.45 |
0.3 |
2.0 |
8 |
Забележка: За диаметри на вала ≤ 30 mm се препоръчват отворени канали.
|
d |
D |
L |
d |
D |
L |
d |
D |
L |
d |
D |
L |
|
8 |
12.9 |
2.2 |
48 |
59.0 |
4.2 |
150 |
161.0 |
4.2 |
350 |
371.0 |
8.1 |
|
10 |
14.9 |
2.2 |
50 |
61.0 |
4.2 |
160 |
171.0 |
4.2 |
360 |
381.0 |
8.1 |
|
12 |
16.9 |
2.2 |
55 |
66.0 |
4.2 |
170 |
181.0 |
4.2 |
370 |
391.0 |
8.1 |
|
14 |
18.9 |
2.2 |
60 |
71.0 |
4.2 |
180 |
191.0 |
4.2 |
380 |
401.0 |
8.1 |
|
15 |
19.9 |
2.2 |
63 |
74.0 |
4.2 |
190 |
201.0 |
4.2 |
390 |
411.0 |
8.1 |
|
16 |
20.9 |
2.2 |
65 |
76.0 |
4.2 |
200 |
215.5 |
6.3 |
400 |
421.0 |
8.1 |
|
18 |
22.9 |
2.2 |
70 |
81.0 |
4.2 |
210 |
225.5 |
6.3 |
420 |
441.0 |
8.1 |
|
20 |
27.5 |
3.2 |
75 |
86.0 |
4.2 |
220 |
235.5 |
6.3 |
450 |
471.0 |
8.1 |
|
22 |
29.5 |
3.2 |
80 |
91.0 |
4.2 |
230 |
245.5 |
6.3 |
480 |
501.0 |
8.1 |
|
24 |
31.5 |
3.2 |
85 |
96.0 |
4.2 |
240 |
255.5 |
6.3 |
500 |
521.0 |
8.1 |
|
25 |
32.5 |
3.2 |
90 |
101.0 |
4.2 |
250 |
265.5 |
6.3 |
520 |
541.0 |
8.1 |
|
28 |
35.5 |
3.2 |
95 |
106.0 |
4.2 |
260 |
281.0 |
8.1 |
550 |
571.0 |
8.1 |
|
30 |
37.5 |
3.2 |
100 |
111.0 |
4.2 |
270 |
291.0 |
8.1 |
600 |
621.0 |
8.1 |
|
32 |
39.5 |
3.2 |
105 |
116.0 |
4.2 |
280 |
301.0 |
8.1 |
630 |
651.0 |
8.1 |
|
35 |
42.5 |
3.2 |
110 |
121.0 |
4.2 |
290 |
311.0 |
8.1 |
650 |
678.0 |
8.1 |
|
36 |
43.5 |
3.2 |
115 |
126.0 |
4.2 |
300 |
321.0 |
8.1 |
670 |
698.0 |
9.5 |
|
38 |
49.0 |
4.2 |
120 |
131.0 |
4.2 |
310 |
331.0 |
8.1 |
700 |
728.0 |
9.5 |
|
40 |
51.0 |
4.2 |
125 |
136.0 |
4.2 |
320 |
341.0 |
8.1 |
750 |
778.0 |
9.5 |
|
42 |
53.0 |
4.2 |
130 |
141.0 |
4.2 |
330 |
351.0 |
8.1 |
800 |
828.0 |
9.5 |
|
45 |
56.0 |
4.2 |
140 |
151.0 |
4.2 |
340 |
361.0 |
8.1 |
1000 |
1028.0 |
9.5 |
Забележка: Необходимите спецификации не са изброени тук; моля свържете се с нашата компания. Предлагаме продукти с максимален диаметър 2800 мм.





Пълни инструкции за монтаж и употреба
Rui Chen знае, че правилната инсталация е първата предпоставка за гарантиране на пълната производителност на уплътненията, ние също така ще ви дадем изчерпателни насоки за използването на всеки продукт, особено сложни или нестандартни персонализирани части, ще има подробно графично ръководство за инсталиране.
Тези ръководства са придружени от диаграми стъпка по стъпка с висока разделителна способност и текстови инструкции, които ясно показват точките за проверка преди инсталиране, правилните стъпки за инсталиране, необходимите инструменти и грешните операции, които трябва да се избягват, сякаш нашите инженери са на място. В допълнение, за сложни възли или системи, ние създаваме професионални видеоуроци, които позволяват на вашите оператори интуитивно и бързо да овладеят инсталационни техники и предпазни мерки чрез динамични демонстрации, значително намалявайки риска от ранна повреда поради неправилна инсталация.
Адрес
No.1 Ruichen Road, Dongliuting Industrial Park, Chengyang District, Qingdao City, Shandong Province, Китай
Тел
Електронна поща