|
Налягане/MPa |
Температура / °C |
Скорост /m/s |
Среден |
|
≤40 |
-35~+100 (със съответстващи NBR О-пръстени) |
≤2 |
Хидравлично масло, емулсия, вода, газ и др. |
-20~+200 (със съответстващи О-пръстени FKM) |
1. Подходящите материали за О-пръстен включват: R01 нитрил-бутадиен каучук (NBR), R02 флуорокаучук (FKM) и др.
2. Материали за уплътнителен пръстен: Стандартни материали PTFE3 и PTFE4; други незадължителни материали включват PTFE1, PTFE2 и PTFE5.
Ruichen извършва независими изследвания и разработки и производство от началото на суровините, осъществявайки контрола на цялата верига от продукти.
1. Инженерни пластмаси и композитни материали: Ние приемаме политетрафлуоретилен (PTFE) като сърцевина, от смесване, синтероване до формоване, независимо производство на всички видове напълнени модифицирани композитни материали, тръби и пръти, и след това прецизна обработка в уплътнения. Това гарантира стабилност и възможност за персонализиране на свойствата на материала.
2. Високоефективен полиуретанов еластомер: Започваме от преполимерно леене, независимо произвеждаме висококачествени полиуретанови материали за тръби и пръти и ги обработваме в различни видове уплътнения, които са изключителни като устойчивост на износване, устойчивост на натиск и устойчивост на хидролиза.
Пример за поръчка
Модел за поръчка RC2054—80×69×4.2—PTFE3—R01 Модел-D*d*L- Код на материала Модел за поръчка RCX18—80×69x4.2—HPU Модел-D*d*L- Код на материала
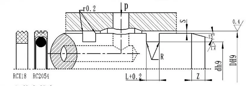
Таблица със спецификации и параметри (достъпна е всяка спецификация в диапазона на параметрите)
|
Диапазон на диафрагмата DH9 |
Диаметър на изкопа dh9 |
Ширина на изкопа L+0,2 |
Радиален просвет Smax |
Заоблени ъгли Rmax |
фаска Zmin |
|
|
0~10Mpa |
10~20Mpa |
|||||
|
8~39 |
D-4.9 |
2.2 |
0.15 |
0.1 |
0.4 |
2 |
|
40~79 |
D-7.5 |
3.2 |
0.2 |
0.15 |
0.6 |
3 |
|
80~132 |
D-11.0 |
4.2 |
0.25 |
0.2 |
1.0 |
4 |
|
133~329 |
D-15.5 |
6.3 |
0.3 |
0.25 |
1.3 |
5 |
|
330~669 |
D-21.0 |
8.1 |
0.3 |
0.25 |
1.8 |
7 |
|
670~1500 |
D-28.0 |
9.5 |
0.45 |
0.3 |
2.0 |
8 |
|
D |
d |
L |
D |
d |
L |
D |
d |
L |
D |
d |
L |
|
8 |
3.1 |
2.2 |
50 |
42.5 |
3.2 |
170 |
154.5 |
6.3 |
380 |
359.0 |
8.1 |
|
10 |
5.1 |
2.2 |
55 |
47.5 |
3.2 |
180 |
164.5 |
6.3 |
390 |
369.0 |
8.1 |
|
12 |
7.1 |
2.2 |
60 |
52.5 |
3.2 |
190 |
174.5 |
6.3 |
400 |
379.0 |
8.1 |
|
14 |
9.1 |
2.2 |
63 |
55.5 |
3.2 |
200 |
184.5 |
6.3 |
420 |
399.0 |
8.1 |
|
15 |
10.1 |
2.2 |
65 |
57.5 |
3.2 |
210 |
194.5 |
6.3 |
450 |
429.0 |
8.1 |
|
16 |
11.1 |
2.2 |
70 |
62.5 |
3.2 |
220 |
204.5 |
6.3 |
480 |
459.0 |
8.1 |
|
18 |
13.1 |
2.2 |
75 |
67.5 |
3.2 |
230 |
214.5 |
6.3 |
500 |
479.0 |
8.1 |
|
20 |
15.1 |
2.2 |
80 |
69.0 |
4.2 |
240 |
224.5 |
6.3 |
520 |
499.0 |
8.1 |
|
22 |
17.1 |
2.2 |
85 |
74.0 |
4.2 |
250 |
234.5 |
6.3 |
550 |
529.0 |
8.1 |
|
24 |
19.1 |
2.2 |
90 |
79.0 |
4.2 |
260 |
244.5 |
6.3 |
600 |
579.0 |
8.1 |
|
25 |
20.1 |
2.2 |
95 |
84.0 |
4.2 |
270 |
254.5 |
6.3 |
630 |
609.0 |
8.1 |
|
28 |
23.1 |
2.2 |
100 |
89.0 |
4.2 |
280 |
264.5 |
6.3 |
650 |
629.0 |
8.1 |
|
30 |
25.1 |
2.2 |
105 |
94.0 |
4.2 |
290 |
274.5 |
6.3 |
670 |
642.0 |
9.5 |
|
32 |
27.1 |
2.2 |
110 |
99.0 |
4.2 |
300 |
284.5 |
6.3 |
700 |
672.0 |
9.5 |
|
35 |
30.1 |
2.2 |
115 |
104.0 |
4.2 |
310 |
294.5 |
6.3 |
750 |
722.0 |
9.5 |
|
36 |
31.1 |
2.2 |
120 |
109.0 |
4.2 |
320 |
304.5 |
6.3 |
800 |
772.0 |
9.5 |
|
38 |
33.1 |
2.2 |
125 |
114.0 |
4.2 |
330 |
309.0 |
8.1 |
1000 |
972.0 |
9.5 |
|
40 |
32.5 |
3.2 |
130 |
119.0 |
4.2 |
340 |
319.0 |
8.1 |
|
|
|
|
42 |
34.5 |
3.2 |
140 |
124.5 |
6.3 |
350 |
329.0 |
8.1 |
|
|
|
|
45 |
37.5 |
3.2 |
150 |
134.5 |
6.3 |
360 |
339.0 |
8.1 |
|
|
|
|
48 |
40.5 |
3.2 |
160 |
144.5 |
6.3 |
370 |
349.0 |
8.1 |
|
|
|
Забележка: Необходимите спецификации не са изброени тук; моля свържете се с нашата компания. Предлагаме продукти с максимален диаметър 2800 мм.



Адрес
No.1 Ruichen Road, Dongliuting Industrial Park, Chengyang District, Qingdao City, Shandong Province, Китай
Тел
Електронна поща