Основните хидравлични уплътнения на Ruichen Seals включват предимно няколко вида уплътнения, всеки със собствени предимства. О-пръстените се използват широко при различни динамични и статични запечатващи случаи поради ниските си производствени разходи и удобната употреба. Повечето страни са формулирали серия от стандарти за продукти за О-пръстени, сред които американският стандарт (AS568), японският стандарт (JISB2401) и международният стандарт (ISO 3601/1) са по-често срещани. Националните стандарти са GB3452.1 и GB1235.
Звездният форма на уплътнение е уплътнение с четири листа с форма с X-образна форма, така че се нарича още X-образна пръстен. Това е подобрение и подобрение въз основа на О-пръстена. Размерите му на напречно сечение са същите като О-пръстена на САЩ като стандарт 568A и той може да замени използването на О-пръстена.
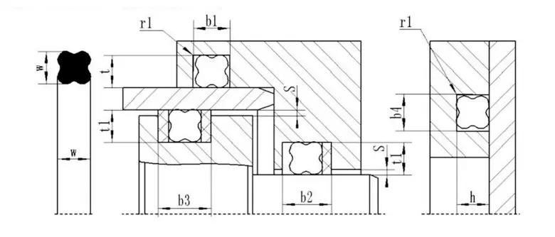
Предимства на звездни пръстени
В сравнение с О-пръстените, звездните пръстени имат по-малко съпротивление на триене и по-малко начално съпротивление, тъй като образуват смазваща кухина между уплътняващите устни. Тъй като неговият флаш ръб е разположен в вдлъбната част на напречното сечение, ефектът на уплътнителния ефект е по -добър. Неокръжното напречно сечение ефективно избягва явлението на подвижността по време на реципрочно движение.
Механизъм на звезден пръстен
Звездният пръстен е самозатягащ се елемент за уплътняване с двойно действие. Радиалните и аксиалните сили зависят от налягането на системата. Тъй като налягането се повишава, компресионната деформация на звездния пръстен ще се увеличи и общата сила на уплътняване ще се увеличи, като по този начин се образува надеждно уплътнение.
Как да изберем звънец с форма на уплътнение
Ако диаметърът на вала и отвора е известен, изберете подходящия звънец във формата на уплътнение съгласно следните критерии:
1. Статично уплътняване или повтарящо се линейно движение: (1) Запечатване на отвора: Вътрешният диаметър на пръстена във формата на звезда трябва да бъде съвместим с канала или по-малък от около 2% от диаметъра на дъното на канала. Тъй като силата на предварително компресия, генерирана от предварително компресия, може ефективно да предотврати усукване на уплътнението във формата на звезда. (2) Уплътняване на вала: Вътрешният диаметър на пръстена във формата на звезда трябва да бъде равен или подходящо по-голям от външния диаметър на вала с около 0,2 ~ 0,3 мм, или може да бъде с около 1% по-голям от външния диаметър на вала. В резултат на това уплътнителният пръстен ще бъде по -лесен за инсталиране и ще има по -дълъг експлоатационен живот.
2. Ротационно уплътняване: Вътрешният диаметър на пръстена във формата на звезда трябва да бъде около 2 ~ 5% по-голям от диаметъра на вала, който уплътнява. Тъй като уплътнителният пръстен ще генерира триене и топлина, когато се използва при въртящо се движение, и гумата ще се свие при загряване (ефект на джаула). Следователно, за да се гарантира, че уплътнителният пръстен може да бъде смазан и да работи надеждно, трябва да бъде избран звезден пръстен с вътрешен диаметър, по-голям от диаметъра на вала. Обикновено уплътнителният пръстен с по-малко напречно сечение може да отговори на нуждите на статично запечатване. Напротив, трябва да бъде избран уплътнителен пръстен с по -голямо напречно сечение, за да отговаря на динамичното уплътнение. В случай на високо налягане или големи пропуски трябва да се избира гумен материал с по -висока твърдост. Най -добрият начин е да добавите задържащ пръстен за PTFE, за да се предотврати увреждане на екструзия с високо налягане.
Основният О-пръстен органично комбинира еластичността и уплътняването на каучук с химическата устойчивост на тефлон. Той е съставен от вътрешно ядро на силикон или флуорорубер и сравнително тънко тефлоново или тефлоново PFA външно покритие.
Материал: Тефлунният FEP и Teflon PFA по същество са сходни, но тефлонският PFA има по -добра устойчивост на висока температура от Teflon FEP. Приложим температурен диапазон Тефлонен FEP черупка: -60 ℃ ~ 205 ℃ може да се използва при 260 ℃ за кратко време Teflon PFA черупка: -60 ℃ ~ 260 ℃ може да се използва при 300 ℃ за кратко време предимства:
1. Изключителна химическа устойчивост, подходяща за почти всички химични среди
2. Широко температурен диапазон
3. Добро съпротивление на компресия
4. Анти-фроментиране
5. Добро анти-подплащане
6. Устойчивост на високо налягане
7. Отлична трайност за запечатване и дълъг експлоатационен живот
Прилагане: Помпи и клапани, реакционни съдове, механични уплътнения, филтри, съдове под налягане, топлообменници, котли, фланци на тръбопровода, газови компресори и др.
Приложни индустрии: Химическа промишленост, производство на самолети, фармацевтична промишленост, нефт и химически транспорт и рафиниране, филмова промишленост, хладилна инженеринг, индустрия за преработка на храни, производство на хартии, производство на багрила, пръскане на боя и др.
Инструкции за инсталиране на уплътняващи пръстени
1. Частите, в които са монтирани или преминаващи уплътняващите пръстени, трябва да са гладки, без бури, канали и остри ъгли. Грубостта на вътрешния отвор трябва да достигне 1.6μ и грапавостта на вала трябва да достигне 0.8um.
2. Нанесете чисто леко масло или мазнини, за да смажете повърхността на уплътнителния пръстен и съответните части в контакт.
3. Ако е трудно да се монтира уплътнителният пръстен на вала, го потопете в гореща вода за няколко минути, за да го разширите. Този омекотен и разширен О-пръстен е по-лесен за инсталиране. Инсталирайте О-пръстена, когато е горещ, и размерът му ще се върне към първоначалния си размер след охлаждане.
4. Не огъвайте О-пръстена твърде силно, в противен случай той ще причини бръчки в тефлона и ще повлияе на употребата му.
Препоръчителната компресия на покрития О-пръстен е както следва:
Състояние на статично уплътнение: 15%-20%
Динамично състояние на уплътнение: 10%-12%
Пневматично състояние: 7%-8%
Действителното компресиране трябва да отчита условията на труд, особено за уплътняващото работно налягане и други фактори.
Характеристики и приложения на продукта:
| Таблица с параметри на производителността на пръстена |
|
|
|
|
Статично уплътнение | Динамично уплътнение |
| Работно налягане | Без задържане на пръстена, 20MPA макс Със задържащ пръстен, 40 MPa Max, специален задържащ пръстен 200MPA MAX | Без задържане на пръстена, 5MPA макс Със задържащ пръстен, по -високо налягане |
| Скорост | Повторно постъпване 0,5 м/с макс, въртяща се 2m/s макс | |
| Температура | Обща употреба: -30 ~+110, Специален каучук: -60 ~+250, въртящ се: -30 ~+80 | |
| Среден | Вижте раздела Материали | |
| Стандарт | О-пръстен диаметър на напречното сечение w |
|
|||||
| Американски стандарт като 568 Британски стандарт BS 1516 | 1.78 | 2.62 | 3.52 | 5.33 | 6.99 | - | |
| Японски стандарт IT B2401 | 1.9 | 2.4 | 3.1 | 3.5 | 5.7 | 8.4 | |
| Международен стандарт ISO 3601/1 Немски стандарт DIN 3771/1 Китайски стандарт CB 3452.1 | 1.8 | 2.65 | 3.55 | 5.30 | 7.00 | - | |
| Предпочитани метрични размери | 1.0 | 1.5 | 2.0 | 2.5 | 3.0 | 3.5 | |
| 4.0 | 4.5 | 5.0 | 5.5 | 6.0 | 7.0 | ||
| 8.0 | 10.0 | 12.0 |
|
|
|
||
| Американски стандарт като 568 (Серия 900) | 1.02 | 1.42 | 1.63 | 1.83 | 1.98 | 2.08 | |
| 2.21 | 2.46 | 2.95 | 3.00 |
|
|
|
|
| Диапазонът на приложението на звездни пръстени е много широк. Изберете правилния материал според температурата, налягането и средата. За да се адаптира звездния пръстен към дадено приложение, трябва да се вземат предвид взаимните ограничения между всички работни параметри. При определяне на диапазона на приложение трябва да се вземат предвид пиковата температура, непрекъснатата работна температура и работен цикъл. При въртящи се приложения трябва да се вземе предвид и повишаването на температурата, причинено от топлината на триенето. | |||||
| Технически параметри | Динамично уплътнение | Статично уплътнение |
|
||
| Повторно постъпване на движение | Ротационно движение |
|
|||
| Работно налягане (MPA) | Със задържащ пръстен | 30 | 15 | 40 |
|
| Без задържане на пръстен | 5 | - | 5 |
|
|
| Скорост (m/s) | 0.5 | 2.0 | - |
|
|
| Температура (℃) | Общи поводи: -30 ℃ ~+110 ℃ |
|
|||
| Специални материали: -60 ℃ ~+200 ℃ |
|
||||
| Поводи за въртене: -30 ℃ ~+80 ℃ |
|
||||
Звезден пръстен материал:
Материалът обикновено е Shaw A70 нитрил каучук NBR.
О-пръстен с покритие:
Схематична диаграма на канала на капсулирания О-пръстен
Размерна таблица на канала на капсулирания О-пръстен (препоръчителен)
| Диаметър на проводника d | A (mm) | B (mm) | ||
| Статично уплътнение | Динамично уплътнение | Пневматично уплътнение | ||
| 1.78 | 2.36/2.49 | 1.42/1.52 | 1.55/1.60 | 1.63/1.65 |
| 2.62 | 3.56/3.68 | 2.08/2.21 | 2.29/2.36 | 2.39/2.44 |
| 3.53 | 4.75/4.88 | 2.82/3.00 | 3.10/3.18 | 3.22/3.28 |
| 5.33 | 7.14/7.26 | 4.27/4.52 | 4.67/4.80 | 4.90/4.95 |
| 6.99 | 9.63/9.65 | 5.59/5.89 | 6.15/6.27 | 6.43/6.48 |
Ръководство за инсталиране на уплътнение на Ruichen Seal PTFE
Ⅰ. Ръководство за инсталиране
1. Уплътнението трябва да бъде монтирано от предварително заредената страна, обърната към посоката на налягането.
2. Корпусът на цилиндъра и буталото трябва да бъдат направени с изстрелващи се шамари, които отговарят на изискванията на пробите на нашата компания.
3. Острите ръбове трябва да са без гърби и заоблени или сковани.
4. Нишките, канали на пръстена и др. Трябва да се покрият, тъй като уплътнението не може да бъде изтласкано през канали, пробити отвори или груби повърхности.
5. Всеки прах, отломки или други чужди частици трябва да бъде внимателно отстранен.
6. Не трябва да се използват инструменти с остри ръбове.
7. PTFE уплътняващи пръстени се разширяват по -лесно в отопляемо масло или вода (около 80 ~ 120 градуса) и са лесни за възстановяване до първоначалната си форма.
8. Ако устната на уплътнението трябва да премине през отвора за налягане на маслото, трябва да се използва пластмасова пръчка, за да се натисне леко устната, за да се предотврати увреждането на уплътняващата устна. Дупките на цилиндъра трябва да бъдат скосени. (Фигура 3)
Ⅱ. Метод за инсталиране
Отворени (разделени) канали могат да бъдат инсталирани без инструменти.
Инсталиране на уплътнения на буталния прът на канала (Фигура 1) (Фигура 1)
1. Почистете и маслени всички субстрати, уплътнения и инструменти за монтаж.
2. Поставете гумения пръстен в жлеба (внимавайте да не го усуквате).
3. Компресирайте пръстена за уплътнение на PTFE във формата на бъбреците, без да образувате заострен завой, поставете сгъстения PTFE уплътнителен пръстен в жлеба и внимателно го изравнете на ръка.
4. Натиснете дорза за възстановяване към уплътнението и внимателно завъртете доркула. Оставете го за 1 минута и извадете дорницата. Инсталацията е пълна.
Инсталиране на бутални уплътнения в затворени канали (Фигура 2)
1. Почистете и маслени всички субстрати, уплътнения и инструменти за монтаж.
2. Поставете гумения пръстен в жлеба (внимавайте да не го усуквате).
3. Натиснете уплътнителния пръстен на PTFE върху ръководния ръкав и изпънете уплътнителния пръстен.
4. Натиснете опънатия уплътнителен пръстен в браздата на буталото.
5. Натиснете корекционния ръкав към уплътнителния пръстен и завъртете корекционния втулка едновременно. Извадете корекционния ръкав, след като го оставите за 1 минута и инсталацията е завършена.
Забележка: 1. Моля, консултирайте се с нашата компания, ако продуктът, посочен в извадката на нашата компания, не може да бъде инсталиран в затворен канал, но не е подходящ за отворен жлеб.
2. Горната инсталация на PTFE уплътнения не е приложима за всички PTFE уплътнения. Моля, консултирайте се с нашата компания, ако е необходимо.



























Адрес
No.1 Ruichen Road, Dongliuting Industrial Park, Chengyang District, Qingdao City, Shandong Province, Китай
Тел
Електронна поща